Домкрат ромбический УРД-08 (1000 кг)
- Расшифровка каталожного номера
В каталогах автозавода УАЗ нумерация обозначений, характерных всем сборочным единицам и деталям, осуществляется в соответствии с единой семизначной системой. Например, обозначение вала вторичного в сборе коробки передач: 452-1701106-Б, где:
452 – 1-ые цифры до тире являются обозначением модели автомобиля или деталей, соответствующих двигателю, шасси, кузову, соответственно, моделям двигателя, шасси или кузова (кабины) автомобиля.
17 – 1-ые две цифры, входящий в 7-мизначный номер, являются обозначением номера группы, в данном случае “Коробки передач”
01 – 2-рые две цифры, входящие в 7-мизначный номер, являются обозначением номера подгруппы, в данном случае “Коробки передач”
105 – последние три цифры, входящие в 7-мизначный номер, являются обозначением порядкового номера детали, в данном случае “Вала вторичного”.
Буквенные обозначения А, Б, В и т.д. после обозначения деталей или сборочных единиц указывают о внесении изменений в конструкцию детали или сборочной единицы. Обозначения А, А1, А2 и т.д. являются указанием сохранения изменений детали взаимозаменяемости с основной деталью, не обозначенной буквой, и между собой. Детали, обладающие обозначениями Б, Б1, Б2 и т.д. не взаимозаменяемы с деталями, обладающими обозначениями А, А1, А2 и т.д. или с ранее выпущенными деталями (не обладающими буквами), но взаимозаменяемы между собой.
Параллельно для буквенных обозначений в соответствии со всеми последующими изменениями для указаний, связанных со взаимозаменяемостью или не взаимозаменяемостью деталей или сборочных единиц, осуществляется введение цифровых индексов:
01 – 1-ый взаимозаменяемый вариант
02 – 2-рой взаимозаменяемый вариант
09 – 9-тый взаимозаменяемый вариант
10 – 1-ый невзаимозаменяемый вариант
11 – 1-ый взаимозаменяемый вариант, соответствующий невзаимозаменяемому варианту 10
12 – 19 – линейка последующих взаимозаменяемых вариантов невзаимозаменяемого варианта 10
20 – 2-рой невзаимозаменяемый вариант
21 – 29 – линейка взаимозаменяемых вариантов, относящихся ко 2-рому невзаимозаменяемому варианту 20
и т.д.
Весь ассортимент деталей и сборочных единиц, заимствованных от автомобилей старых моделей, осуществляет сохранение своих прежних обозначений.
Ассортимент деталей или сборочных единиц, используемых исключительно для ремонта, обладает буквенными приставками Р, Р1, Р2 или АР, АР1, и т.д. Например, ВК-24-1000100-АР – комплект поршневых колец, обладающих увеличенным размером на 0,50мм.
Характеристики
Описание
О товаре
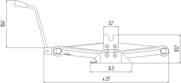
"Домкрат ромбический УРД-08 (1000 кг)"— это специальный механизм, позволяющий производить текущий ремонт автомобиля в тех случаях, когда данный ремонт должен проводиться без опоры автомобиля на колёса, а также смену колес непосредственно на месте поломки или остановки. Удобство современного домкрата — в его мобильности, малом весе, надежности и простоте обслуживания.
Характеристики
- Грузоподъемность: 1 тонна;
- Высота подъема: 407 мм.
Инструкция по применению
- Вставить рычаг в специальное отверстие и начать вращать его по часовой стрелке.
- Прокручивая шпильку поднять упор на нужную высоту и установить подпорки.
- Приступить к замене колеса.
- Закончив работу, начать вращать рычаг в обратном направлении опуская домкрат до того момента, как его можно будет вытащить из-под днища автомобиля.
- Сложить приспособление в багажном отделении.
Домкрат ромб всегда должен находиться в доступном месте, быть под рукой.
Внимание! Категорически запрещено:
- использование домкрата не по назначению;
- поднимать автомобиль с помощью домкрата при незаторможенных колесах;
- поддомкрачивать автомобиль с большим
креном, особенно на скользком грунте;
- работать под автомобилем, удерживаемым только домкратом.
Домкрат является неремонтируемым изделием, при повреждении и износе деталей он подлежит утилизации.
Наши преимущества
- Выгодные цены. Работаем напрямую без посредников с производителями и поставщиками конвейера ООО УАЗ, поэтому наши цены всегда Вас обрадуют.
- Наличие. Все комплектующие всегда в наличии на складах, поэтому отправка заказов происходит в кратчайшие сроки.
- Доставим ваши заказы аккуратно и в срок по всей России. Гибкие тарифы и широкая география. Работаем с транспортными компаниями, Почтой России и СДЭК-ом. Сотрудничаем с OZON. Доставляем заказы в 19 000 точек выдачи OZON по всей России.
- Удобные способы оплаты. Как наличный, так и безналичный расчёт. Онлайн оплата картой на сайте.
- Персональная поддержка. Личный менеджер у каждого клиента.
- Система скидок. Для постоянных и оптовых клиентов существует система персональных скидок. Все подробности по телефону горячей линии 8 (800) 350-70-56 (звонок по России бесплатный).
Остаётся просто сделать выбор и оформить заказ :) Добавляйте товар в корзину, заполните необходимые поля и наши менеджеры свяжутся с Вами!
Отзывы
Отзывы не найдены
